Documentation for ATIS-Draft-03-00-79

Element: piAgencyList

[Table of contents]

Name piAgencyList
Type PiAgencyList
Nillable no
Abstract no
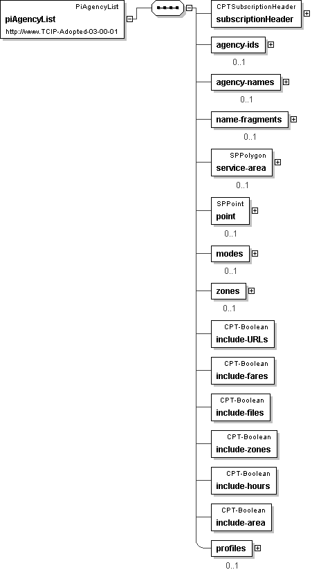
Logical Diagram
h-872182739 h-903160301 h-349129757 h-1775088892 h-1791190776 h-592336243 h-595111891 h-583096508 h263313869
XML Instance Representation
<piAgencyList>
<subscriptionHeader> CPTSubscriptionHeader </subscriptionHeader> [1]
<agency-ids> [0..1]
Start Sequence [1..100]
<agency-id> CPT-AgencyID </agency-id> [1]
End Sequence
</agency-ids>
<agency-names> [0..1]
Start Sequence [1..100]
<agency-name> CPT-AgencyName </agency-name> [1]
End Sequence
</agency-names>
<name-fragments> [0..1]
Start Sequence [1..100]
<name-fragment> CPT-AgencyName </name-fragment> [1]
End Sequence
</name-fragments>
<service-area> SPPolygon </service-area> [0..1]
<point> SPPoint </point> [0..1]
<modes> [0..1]
Start Sequence [1..20]
<mode> CPT-Mode </mode> [1]
End Sequence
</modes>
<zones> [0..1]
Start Sequence [1..100]
<zone> PIServiceZoneIden </zone> [1]
End Sequence
</zones>
<include-URLs> CPT-Boolean </include-URLs> [1]
<include-fares> CPT-Boolean </include-fares> [1]
<include-files> CPT-Boolean </include-files> [1]
<include-zones> CPT-Boolean </include-zones> [1]
<include-hours> CPT-Boolean </include-hours> [1]
<include-area> CPT-Boolean </include-area> [1]
<profiles> [0..1]
Start Sequence [1..200]
<profile> PIAgencyProfile </profile> [1]
End Sequence
</profiles>
</piAgencyList>
Diagram
h-527207252 h948193899 h681450491 h681450491 h-1414121128 h2081204526 h-1969600082 h506659239 h325016637 h325016637 h325016637 h325016637 h325016637 h325016637 h1306098022
Schema Component Representation
<xs:element name="piAgencyList" type=" PiAgencyList "/>